
軋制過程是靠旋轉的軋輥與軋件之間形成的摩擦力將軋件拖進輥縫之間,并使之受到壓縮產生塑性變形的過程。軋制的木瀆是使軋件的裁量具有一定形狀,尺寸和性能。為了控制軋制過程,必須對軋制過程形成的變形區有一定的了解。
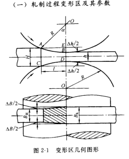
在軋制過程中,與軋輥接觸并產生塑性變形的區域稱為變形區。如圖2-1所示的ABCD區域
變形區的主要參數如下。
①軋輥直徑D或半徑R。
②軋前厚度H。
③軋后厚度h。
④壓下量(△h=H-h)。
⑤軋前寬度BH。
⑥軋后寬度Bh。
⑦寬展量(△B=Bh-BH)。
⑧接觸弧;軋輥與軋件接觸的弧AB,CD。
⑨咬入角;接觸弧所對應的圓心角a。
⑩變形區長度;接觸弧的水平投影l。

